油封是用來封油(油是傳動系統中最常見的液體物質)的機械元件,它將傳動部件中需要潤滑的部件與出力部件隔離,不至于讓潤滑油滲漏和外部灰塵、泥水等雜質進入。凡是運轉體箱內有液體潤滑油而又與外部相連接的部位都需要油封。
第一臺內顯燃機的軸密封是簡單的填料,在二十世紀二十年代被皮革唇形密封取代。二十世紀三十年代,與礦物潤滑油相容的合成橡膠被推廣之后,用其制作的品種繁多、外觀各異的唇形密封不斷出現。目前大致可分為:毛氈油封、橡膠油封、復合材質油封、迷宮式油封、螺旋式油封、機械式油封等,并且出現了安裝方便的多種剖分式油封。
毛氈油封是較早使用的一種油封,由于其密封效果差,磨損很快,使用壽命很短,已不被大量使用。目前,大量應用的是橡膠骨加油封,其密封性能較好,但是由于其材料的局限,密封壽命較短,更換頻繁,使得更換油封的停機成本遠遠超過油封本身的價格。
●傳統橡膠骨架油封的密封原理

●傳統橡膠骨架油封的材質性能
油封密封性能的優劣,很大程度上取決于油封材料的性能。因此,了解油封材料的性能是取得理想密封效果的前提。常見的橡膠油封材質如下:
丁腈橡膠(NBR):具有良好的耐礦物油和植物油性能,耐磨、耐老化、同時具有很好的彈性,是多用途的彈性材料,能夠適用于低濃度或低溫的無機物、堿和酸。
氟橡膠(FKM):氟橡膠在高溫(最高250攝氏度)條件下,仍具有很好的物理性能。通常還具有非常好的耐油、燃油、溶劑及化學品性能。不推薦使用于低分子量的酯類和醚類物質,以及酮和胺。在易于導致其它的彈性體材料快速老化和劣化的工況條件下,氟橡膠是首要考慮的。
硅橡膠(SIL):硅橡膠的物理機械性能(抗張、斷裂強度及極限拉伸)比其他橡膠差,但是它具有很低的摩擦系數和壓縮形變,適用于某些特定的條件下運用。它有較好的耐礦物油性能,但是不耐汽油、酸和氯化溶劑。
隨著現代工業的發展,對能夠滿足高溫、高壓及高速等苛記得工況的油封的需求越來越近切,生產的連續性也要求油封具有更長的使用壽命。因此更多新型油封相繼被開發出來,如:新型復合材料的唇型油封、迷宮式油封、螺旋式油封、機械式油封等。這類新型油封從材料、密封形式、結構設計等不同角度進行升級,以滿足高溫、高壓、高速等需求,并提高密封效果,降低磨損,延長使用壽命。性能穩定的剖分式油封的出現,有效避免了繁瑣的設備拆裝,使油封的更換工作更為簡單、快捷,最大限度的提高了生產的邊續性。最新的油封技術不僅能夠防止漏油,而且能夠起到防止外界污染物進入軸承箱、保護軸承的作用,因而人們也稱之為軸承保護器。
油封密封性能的優劣,很大程度上取決于油封材料的性能。因此,了解油封材料的性能是取得理想密封效果的前提。常見的橡膠油封材質如下:
丁腈橡膠(NBR):具有良好的耐礦物油和植物油性能,耐磨、耐老化、同時具有很好的彈性,是多用途的彈性材料,能夠適用于低濃度或低溫的無機物、堿和酸。
氟橡膠(FKM):氟橡膠在高溫(最高250攝氏度)條件下,仍具有很好的物理性能。通常還具有非常好的耐油、燃油、溶劑及化學品性能。不推薦使用于低分子量的酯類和醚類物質,以及酮和胺。在易于導致其它的彈性體材料快速老化和劣化的工況條件下,氟橡膠是首要考慮的。
硅橡膠(SIL):硅橡膠的物理機械性能(抗張、斷裂強度及極限拉伸)比其他橡膠差,但是它具有很低的摩擦系數和壓縮形變,適用于某些特定的條件下運用。它有較好的耐礦物油性能,但是不耐汽油、酸和氯化溶劑。
隨著現代工業的發展,對能夠滿足高溫、高壓及高速等苛記得工況的油封的需求越來越近切,生產的連續性也要求油封具有更長的使用壽命。因此更多新型油封相繼被開發出來,如:新型復合材料的唇型油封、迷宮式油封、螺旋式油封、機械式油封等。這類新型油封從材料、密封形式、結構設計等不同角度進行升級,以滿足高溫、高壓、高速等需求,并提高密封效果,降低磨損,延長使用壽命。性能穩定的剖分式油封的出現,有效避免了繁瑣的設備拆裝,使油封的更換工作更為簡單、快捷,最大限度的提高了生產的邊續性。最新的油封技術不僅能夠防止漏油,而且能夠起到防止外界污染物進入軸承箱、保護軸承的作用,因而人們也稱之為軸承保護器。
|
油封類型 |
密封形式 |
產品型號 |
|
骨架油封
|
唇型密封
|
AIGI標準油封,ERKS系列
|
|
聚氨酯類
|
唇型密封
|
521
|
| 復合材質類 | 唇型密封 | 523 |
| 迷宮式密封 | 迷宮式 | 324A,324B,322 |
| 迷宮剖分式 | 迷宮式 | 322S |
| 卡式油封
|
唇型密封 | 321 |
| 浮動油封 | 端面密封 | 328 |
| 浮動油封 | 端面密封 | 329 |
| 軋輥密封 | 唇型密封 | 系列組合 |
| V型封 | 唇型密封 | V型密封 |
| 機械式密封 | 端面密封 | 323I,323F |
| 剖分式 |
唇型密封
|
521S
|
| 雙剖分式 | 唇型密封 | 5505,5505H |
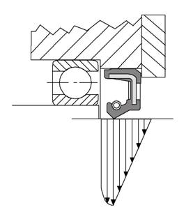
使用之前,油封的唇口內徑比軸徑小(旋轉孔用油封的唇口外徑比孔徑大),具有一定的過盈量。安裝后,油封由于唇口過盈和自緊彈簧(帶有彈簧的油封)的收縮會對旋轉軸產生一定的徑向壓力。同時,油封在彈簧收縮而產生的抱緊力作用下,能夠克服軸在旋轉狀態下因軸的振動、跳動所產生的間隙,使油封的唇口能夠緊貼在軸的表面上。工作時,油封唇口與旋轉軸表面形成一個密封接觸環帶。在密封腔內油壓的作用下,潤滑油滲入油封唇口與旋轉軸之間形成極薄的一層油膜。油膜受油液表面張力的作用,在旋轉軸表面和油封唇口外沿之間形成一個“新月面”防止油液外溢,起到密封的作用;另一方面還可以起到油封唇口與軸表面之間的潤滑作用。



